首页/行业解读/深度 | 骨科手术机器人行业与技术分析报告!/
深度 | 骨科手术机器人行业与技术分析报告!
2024-01-25 10:56:332821浏览
深度 | 骨科手术机器人行业与技术分析报告!

骨科器械一般指专门用于骨科手术用的专业医疗器械。从治疗的角度划分,骨科医疗器械可以分为创伤类、脊柱类、关节类、足踝类等。骨科医疗器械是整个医疗器械领域的重要板块,骨科器械在整个医疗器械行业也被看做是高值耗材,技术含量较高,市场很大。

因为“集采”等多重因素,目前骨科市场风云变幻,“集采”对骨科从业者来说,这是一场生死之战;对骨科行业而言,这是一场天翻地覆的改革。该赛道内的众多厂家纷纷寻找下一个突围点,大家一致的布局技术含量更高的新兴产品,其中骨科手术机器人和骨科手术导航系统已成为骨科企业战略布局的关键。

骨科手术机器人市场概览

骨科手术机器人是指在骨科手术过程中,由经过严格培训的医生操控的、能够根据医生的方案执行手术的先进医疗器械。骨科手术机器人系统主要包括:“大脑”——主控电脑系统;“眼睛”——光学跟踪系统;“手臂”——机械臂主机。

骨科手术机器人主要应用于三类手术,即关节置换手术、脊柱手术及骨科创伤手术。机器人辅助关节置换手术在这三个手术中属于应用最广泛且最复杂的一类。根据弗若斯特沙利文的资料,关节置换手术机器人于2020年的全球市场规模为725.0百万美元,占全球骨科手术机器人市场约52.0%。

根据弗若斯特沙利文的资料,每年在我国完成的机器人辅助关节置换手术数量由2015年的零增至2020年的243例,并预期自2020年起按162.8%的复合年增长率进一步增至2026年的79,964例。我国的机器人辅助关节置换手术于2020年的渗透率为低于0.1%, 估计于2026年将达3.1%。下图载列我国过往及预测机器人辅助关节置换手术的历史及预测数量:

数据来源:弗若斯特沙利文分析

根据相关资料记载,目前我国聚焦骨科手术机器人赛道的企业已多达数十家。其中,具备医疗器械销售资格的骨科手术机器人公司有进口的史赛克(MAKO)、美敦力(MAZOR)、捷迈邦美(ROSA),以及国产的天智航(天玑)、鑫君特(ORTHBOT)、诺亦腾(HOLOSIGHT)。笔者从专利角度着重对上述相关产品展开分析。

史赛克-MAKO

Mako手术机器人于2006年在美国上市,能够协助医生完成全髋关节置换术、全膝关节置换术及单髁关节置换术。截止至2020年,全球范围内超过28个国家装机使用Mako机器人,14年内总计完成手术超过350,000台。

Mako机器人基于两大核心技术:智能手术规划技术和智能辅助截骨技术。智能手术规划技术基于CT进行3D的智能建模,为患者生成个性化的手术方案,同时提供术中动态调整,最大程度的将关节手术推向精准化、个性化。智能辅助截骨技术采用创新高效的截骨模块,能够实现高速磨钻、摆锯和动力手机的集成,同时在术中实现毫米级精确截骨控制和制动巡航截骨保护,为术者赋能,实现微创化、精细化的截骨控制。

下图给出了Mako手术机器人的产品实物示意。

Mako示意图

2006年,第一代Mako骨科机器人于美国佛罗里达州诞生,并成功实施了首例单髁膝关节置换手术。2015年推出了第三代Mako智能骨科机器人系统,成功将Accolade及Trident系类假体结合在全髋关节置换应用。2016年成功的实施了Triathlon全膝关节置换手术后,标志着Mako智能骨科机器人系统在关节置换领域的应用的成熟,并充分显示出机器人手术的优势。下图给出了Mako骨科机器人的技术发展路线。

重要专利解析

笔者从Mako手术机器人涉及的相关专利中择机选择了相对重要的专利进行了解析,相关结果如下:

公开/公告号US10959857B2申请日2019-02-26发明名称Registration tools, systems, and methods解决的技术问题Intra-operative registration of the pelvis can be challenging because of the complex geometry of the pelvis and, in particular, the concave nature of the acetabulum. While certain methods exist in the art for registration of a patient pelvis, there is need in the art for registration methods that increase accuracy while decreasing registration time.技术方案A registration system including a bone pin guide and a bone pin clamp. The bone pin guide may include a guide body, a first guide including a first guide through-hole having a first longitudinal axis, and a second guide including a second guide through-hole having a second longitudinal axis. The bone pin guide may guide first and second bone pins into a bone via the first and second guides. The bone pin clamp may include a clamp body, first, second, and third clamp through-holes extending through the clamp body, a plurality of registration indents defined on the clamp body, and a clamping mechanism including at least one adjustable fastener. The bone pin clamp may receive the first and second bone pins in the first and third clamp through-holes and guide a third bone pin into the bone via the second clamp through-hole.

相关附图

美敦力-MAZOR

2021年8月29日,美敦力宣布旗下脊柱外科智能导航机器人MAZOR X在中国正式上市,这款脊柱外科智能导航机器人在精准、安全、高效三大维度均实现了突破,立刻引起了业内的广泛关注,有望打造国内骨科新格局。MAZOR系列手术机器人共经历的三代进化,其中MAZOR X手术机器人为最新一代产品,其首次实现了脊柱手术的全程可视化操作,医生可以借此看到此前无法触及的细节。术前基于解剖识别引擎的全局术前规划功能,在术前轻松完成手术方案设计,让术者对手术胸有成竹。术中借助MAZORX机械臂精准定位及零导丝高效置钉流程,让原本复杂费力的手术过程变得游刃有余,举重若轻。借助MAZOR X全程可视化导航,让术者摆脱辐射暴露的风险和繁琐的透视操作,置钉结果一目了然,确保手术全程可视。

Mazor示意图Mazor机器人的发展已逾20年,总共经历了三次技术更新迭代,分别如下:第一代:为诞生于2004年的SpineAssist,第一代MAZOR脊柱机器人SpineAssit于2004年获得CE&FDA认证,标志着机器人脊柱手术的开端。SpineAssist率先提出利用术前CT影像规划的机器人脊柱手术流程。即采用超前的解剖洞察引擎技术,利用术前CT影像进行手术规划,并于术中通过跨模态影像融合技术将术前手术计划与实际病人体位的骨性结构匹配,以机械臂精准执行手术。这项MAZOR核心科技显著地提升了手术的预见性与精准性,并一直沿用在之后推出的MAZOR机器人上。第二代:为诞生于2011年的Renaissance,进一步完善了术前智能手术规划功能,全局化规划脊柱手术各个关键步骤。在硬件上,Renaissance首次推出一体式患者随动平台技术,将机械臂与患者骨性结构刚性连接,提升了操作与定位的双重精确性。在适应症上,丰富的操作平台选择覆盖全脊柱手术应用。截止2018年统计,第二代MAZOR 机器人共服务超过40.000台脊柱手术,完成植入250,000枚以上脊柱螺钉。第三代:为诞生于2017年的MAZOR X,其在术前智能手术规划功能上实现全面突破,具体包括如下方面:置钉设计、置棒设计、皮肤切口设计、脊柱立线测量、M侧弯分型、植入物选择、截骨矫形、融合计划、术前手术报告等,MAZOR X将以上各个步骤进行全局化手术方案设计。同时在硬件上搭载第三代亚毫米级手术机械臂系统,真正实现脊柱手术的“所思即所见,所见即所得”。

重要专利解析

同样的,笔者从Mazor手术机器人涉及的相关专利中择机选择了相对重要的专利进行了解析,相关结果如下:

公开/公告号US6837892B2申请日2001-07-24发明名称Miniature bone-mounted surgical robot解决的技术问题there is a need in the art for a device with high precision and accuracy that can assist the surgeon in aligning the working end of the surgical tool such that delicate procedures can be preformed percutaneously with minimal radiation exposure to both the patient and the surgical staff.技术方案A miniature surgical robot and a method for using it are disclosed. The miniature surgical robot attaches directly with the bone of a patient. Two-dimensional X-ray images of the robot on the bone are registered with three-dimensional images of the bone. This locates the robot precisely on the bone of the patient. The robot is then directed to pre-operative determined positions based on a pre-operative plan by the surgeon. The robot then moves to the requested surgical site and aligns a sleeve through which the surgeon can insert a surgical tool.相关附图

捷迈邦美-ROSA

ROSA(Robot of Stereotactic Assistant,ROSA)手术机器人是一种新的无框架立体定向手术机器人。ROSA是由法国Medtech公司研发的新一代多功能手术机器人,自诞生以来就受到众多外科医生的青睐。在2016年时,Zimmer Biomet(捷迈邦美)以不低于1.32亿美元的价格收购了法国手术机器人公司Medtech,拥有了ROSA Brain和ROSA Spine机器人辅助手术平台的所有权。2019年1月,Zimmer Biomet获得FDA批准用于膝关节手术应用的ROSA平台和ROSA One Spine平台,并宣布计划在2019年中期ROSA Knee将正式进入膝关节市场。这一举措使得Zimmer Biomet成为第一个获得脑、脊柱、膝关节三大领域的FDA批准的公司。

众所周知的,ROSA家族共有三兄弟:ROSA Knee、ROSA One Brain、ROSA One Spine。

ROSA Knee是一个机器人平台,旨在协助矫形外科医生进行骨切除,并评估软组织状态,以便在全膝关节置换术中定位植入物。外科医生可以在术前使用手术计划软件来计划植入物的定位和大小。外科医生也可使用 ROSA 膝关节系统内的无图像选项,以实现与基于图像的病例相同的目标。该设备由两个单元组成,分别位于手术台的两侧,分别为:由紧凑的机械臂和触摸屏组成的机器人单元和光学单元和触摸屏。

ROSA Knee示意图ROSA One Spine是一个机器人和手术导航系统,旨在帮助外科医生进行微创胸腰椎手术。ROSA One Spine旨在适应手术流程,利用机器人和导航来支持手术。除了导航技术套件之外,该平台还配备了3D术中计划软件,旨在提高植入物以及器械放置的准确性和可预测性。ROSA One Spine拥有六个自由度,能够灵活灵活地进入手术部位。一旦设定了轨迹,机械臂的刚性就提供了姿态稳定性。独特的“动态跟踪”功能允许机器人实时移动,与患者的运动同步。

ROSA One Spine 示意图

重要专利解析

同样的,笔者从ROSA手术机器人涉及的相关专利中择机选择了相对重要的专利进行了解析,相关结果如下

公开/公告号US10159534B2申请日2017-01-30发明名称Robotic-assisted device for positioning a surgical instrument relative to the body of a patient解决的技术问题The aim of the invention is to cope with the drawbacks of the state of the art by providing a device for positioning a surgical instrument relative to the body of a patient using at least a first robotic arm supporting at least One surgical instrument and a second tracker arm, which is also a robotic arm. This second robotic arm is aimed at detecting in real time and accurately the movements of said body and to communicate them to said first arm, so that it compensates its position accordingly. In particular, said second arm permits to detect the internal and external movements of the anatomic area to be treated.技术方案The robotic device for positioning a surgical instrument relative to the body of a patient includes a first robotic arm with a device for rigidly connecting to at least One surgical instrument, a device for anatomical realignment of the first arm by realigning an image that is of an area of the anatomy of the patient, and a device for compensating the movements of the first arm on the basis of detected movements. One version of the device includes at least One second robotic arm having sensors for detecting inner movements of the anatomical area, and a device for controlling the positioning of the first arm relative to sensed inner movements and to the outer movements induced in the second arm.

相关附图

天智航-天玑

天玑骨科手术机器人能够辅助开展脊柱外科手术以及创伤骨科手术,以机械臂辅助完成这些手术中的手术器械或植入物的定位。产品兼容2D与3D模式,独有入钉点及钉道计算智能算法,机械臂精准运动到规划位置,借助骨科引导器,为医生提供精准稳定的导针置入路径。按照术中规划,医生可以精准设计并置入内植入物。天玑另辟蹊径,使常规手术精准微创化、复杂手术标准化、关键操作智能化、医疗资源均等化,临床优势显著,智慧骨科手术未来可期。目前,天玑2.0骨科手术机器人备受关注,其适用症覆盖颈椎、胸椎、腰椎、骶椎全节段脊柱外科手术和骨盆、髋臼、四肢等部位的创伤手术。

天玑示意图

重要专利解析

同样的,笔者从天玑手术机器人涉及的相关专利中择机选择了相对重要的专利进行了解析,相关结果如下:

公开/公告号CN104083217B申请日2014-07-03发明名称一种手术定位装置以及机器人手术系统解决的技术问题克服了标尺构型对术中C型臂透视角度的限制,可以减少透视次数,减少对病人和医生的辐射损伤。技术方案本发明涉及一种手术定位装置和方法以及机器人手术系统,该手术定位装置包括定位标尺、上位机和至少六自由度的串联机械臂,上位机与串联机械臂连接,定位标尺包括透X光的两相对面,两相对面通过透X光的连接面固定连接,两相对面上均设置有一组标记,每组标记包括至少四个不在一条直线上的标记点,标记点为不透X光的部件;任一相对面或连接面固定连接标尺柄,标尺柄通过接口与串联机械臂末端连接;上位机通过控制串联机械臂的运动来调整定位标尺的位置,并根据采集的图像中的标记点进行空间定位计算,得到规划路径。该装置能够实现任意角度的透视定位,并能消除计算手术路径时引起的系统误差,增大工作空间,提高手术定位精度。相关附图

鑫君特-ORTHBOT

深圳市鑫君特智能医疗器械有限公司于2015年创立于深圳,为国家高新技术企业,是国内首家自主研发导航+智能辅助手术的高科技医疗器械公司。ORTHBOT的智能术前规划采用了可见光定位的技术手段,即计算机通过双目摄像头捕捉到图像后,对图像进行处理、分析和理解,识别出图像中与视觉定位图像模板相匹配的部分,通过特征点的坐标位置计算出坐标定位板在视觉定位系统中的位置信息,它与传统的红外定位方式相比,具有抗干扰能力强,容错性好的优点

在自动操作上,ORTHBOT的设备设计了一个自动操作装置(智能骨钻),在设备到达导航位置以后,医生通过工作站发出操作指令,手术机器人根据术前规划的参数进行自动置针。另外,与导航定位后的人工置针相比,ORTHBOT的置针更加平稳,能够有效地降低人为因素引起的误差,精度控制能力更高;且具有智能触觉功能,通过压力传感器模仿人的触觉,进一步把手术过程中的阻力进行量化,更能保证手术安全

ORTHBOT示意图

重要专利解析

同样的,笔者从ORTHBOT手术机器人涉及的相关专利中择机选择了相对重要的专利进行了解析,相关结果如下

公开/公告号CN105848606B申请日2015-08-24发明名称一种智能骨科手术系统解决的技术问题在导航基础上可以实现精确打孔功能,实现手术操作,从而提高手术的精度和稳定度,减轻医生的工作强度,避免诸如人的疲劳、精神压力等因素对手术的干扰。技术方案本发明适用于医疗器械领域,提供了一种智能骨科手术系统,所述系统包括交换机、手术定位装置和分别与交换机连接的手术规划和监控装置、C形臂X射线机和骨科手术机器人;所述骨科手术机器人包括机器人本体和固定在机器人本体上的机械臂、固定在机械臂上的智能骨钻、通信模块、机械臂控制模块、智能骨钻控制模块、以及手术机器人电气控制模块,所述智能骨钻包括手术电钻、套接在手术电钻的电钻头的引导机构、推进机构、双目视觉识别系统、固定在手术电钻上的压力传感器和骨钻控制器。本发明的智能骨科手术系统中的骨科手术机器人在导航基础上可以实现精确打孔功能,实现手术操作,从而提高手术的精度和稳定度,减轻医生的工作强度。相关附图

导航跟踪

需要特别指出的是,对于包括骨科机器人在内的手术机器人而言,导航跟踪系统是核心技术壁垒之一,在手术应用中,高测量精度使仪器能够更精确地定位于以前无法手术的身体部位中非常小的病变。能够避免脆弱和/或重要的解剖部位,从而更安全地进入这些治疗区域。因此,使用精确的 OEM 手术系统有助于缩短手术时间并最大程度地减少手术侵袭性,从而改善患者的治疗效果。事实上,在骨科手术机器人领域,对于导航跟踪系统而言,国内少有企业能全部掌握所有核心技术。该技术的典型代表公司为加拿大NDI(Northern Digital Inc)

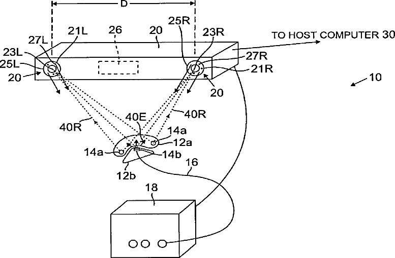
NDI公司的Polaris光学跟踪解决方案以及 Aurora 和 3D Guidance电磁 (EM) 跟踪解决方案在 3D 空间中,捕获光学导航标记物或电磁传感器相对于固定物体或参考点的位置(X-Y-Z 坐标数据)和方向(翻滚、俯仰、偏航)。在骨科手术应用中,可按机器人引导的闭环骨科手术(如脊柱融合和关节置换)所需的更新速率,跟踪附着在机器人末端执行器和患者上的机器人基座、手术工具的位置,可将跟踪数据与术前图像相融合,这有助于在置入椎弓根螺钉的过程中或在实施显微椎间盘切除术期间实现仪器的可视化并进行导航,还可记录并跟踪骨性解剖结构,以定位和对齐要安装的植入物、测量关节旋转和偏移,以及以可视化方式引导刀具切削的角度和深度。Polaris光学测量解决方案由两个协同工作的核心组件组成:光学跟踪器和导航标记器;例如被动标记球、基片、逆反射盘。光学跟踪器使用红外光在 3D 空间中(通过标记)精确定位和三角化仪器的实时 X-Y-Z 坐标。然后,在预先校准的测量体内执行跟踪,并在 Polaris 的全局坐标系内报告跟踪信息。坐标数据计算为变换值;即位置和方向。与车载 GPS 导航的概念类似,跟踪数据可用于可视化手术仪器相对于患者图像集的位置,并规划和导航仪器到目标/治疗部位的路径。每个仪器都有一个独特的标记阵列,便于在OEM手术导航界面中加以区分。

Polaris光学导航系统

重要专利解析

同样的,笔者从NDI涉及的光学和磁导航相关专利中择机选择了相对重要的专利进行了解析,相关结果如下:

公开/公告号US5923417A申请日1997-09-26发明名称System for determining the spatial position of a target解决的技术问题This invention relates generally to systems for determining the spatial position of a target and more particularly to systems of such type which are adapted to determine the spatial position of both active and passive targets. Still more particularly, 技术方案A system for determining the spatial position of a target having an active target adapted to emit energy in response to an active signal and a passive target adapted to reflect energy impinging upon such passive target from an active energy source. A common energy detector is provided for detecting both the energy emitted by the active target and the energy reflected by the passive target. A common processor is provided for determining the spatial positions of both the passive and active targets in response to the energy detected by the common detector. During a sensor cycle the spatial position of the active target is determined and during a sensor cycle the position of the passive target is determined. The sensor cycles may be interspersed or may be the same cycle to enable simultaneous determination of both the active target and the passive target during a single sensor cycle. The system also enables the determination of the spatial position and angular orientation of both a rigid object having affixed thereto active targets and/or another rigid object having affixed thereto passive targets and/or an object having affixed thereto both an active and passive targets.相关附图

结  语

与传统骨科手术相比,手术机器人和导航系统能够辅助骨科临床医生实现高质高效的手术目标,相关技术可以造福那些要经历高难度、高风险背部手术的患者。该技术使得骨科外科手术更安全、更精确。

诚如领域内人士共同认识的那样,骨科手术机器人逐渐赢得市场追捧,站上了智能精细化发展、医保政策利好的快车道,国内各大骨科器械厂商也必会将骨科机器人和导航跟踪系统作为重要的市场赛道,联动产学研医生多方力量,不断创新,推动我国骨科行业更智能化、精准化、微创化的发展,相关知识产权问题也必将会成为各大骨科机器人厂商的研究重点课题,后续相关产品的的研发和专利事务值得持续关注。

友情链接: