首页/骨科精读/痛风诊疗规范(2020版),重点干货!/
痛风诊疗规范(2020版),重点干货!
2021-04-06 17:36:301852浏览
本文主要讲解了痛风的痛风诊疗规范!

临床表现

(一)病程


传统的痛风自然病程分为无症状高尿酸血症期、急性发作期、发作间歇期和慢性痛风石病变期。

1.急性发作期

典型痛风发作常于夜间发作,起病急骤,疼痛进行性加剧,12 h左右达高峰。疼痛呈撕裂样、刀割样或咬噬样,难以忍受。受累关节及周围软组织红肿,皮温升高,触痛明显。症状多于数天或2周内自行缓解。

多数患者发病前无先驱症状,部分患者发病前有疲乏、周身不适及关节局部刺痛等先兆。首次发作多为单关节受累,50%以上发生于第一跖趾关节。

痛风好发于下肢,如足背、足跟、踝、膝关节,指、肘、腕关节也可受累。随着病程进展,反复发作的患者受累关节逐渐增多,少数可影响到骶髂关节、肩关节或脊柱关节,也可累及关节周围滑囊、肌腱、腱鞘等部位,且发作的症状和体征渐趋不典型。部分严重的患者发作时可伴有全身症状,如发热、寒战、乏力、心悸等。发作前多有诱发因素,多为饮酒、高嘌呤饮食、受冷和剧烈运动。

2.发作间歇期

急性关节炎发作缓解后一般无明显后遗症状,偶有炎症区皮肤色素沉着。二次发作的间隔时间无定论,多数患者在初次发作后1~2年内复发,随着病情的进展,发作频率逐渐增加,发作持续时间延长,无症状的间隙期缩短,甚至部分患者发作后症状不能完全缓解,关节肿痛持续存在。

3.慢性痛风石病变期

皮下痛风石和慢性痛风石关节炎是长期血尿酸显著升高未受控制的结果,两者经常同时存在。皮下痛风石常见的发生部位为耳廓、反复发作关节的周围以及鹰嘴、跟腱、髌骨滑囊等处,外观为皮下隆起的大小不一的黄白色赘生物,破溃后排出白色粉状或糊状物,不易愈合。

慢性痛风石关节炎为关节内沉积大量MSU晶体导致痛风石形成,表现为持续关节肿痛、压痛、畸形和功能障碍,其可造成关节骨质的破坏、关节周围组织纤维化、继发退行性变等。

(二)并发症和伴发疾病

1.肾脏病变

(1)急性尿酸盐肾病:由于血和尿中尿酸水平急剧上升,大量尿酸结晶沉积于肾小管、集合管等处,造成急性尿路梗阻。临床表现为急性少尿、无尿,急性肾衰竭,尿中可见大量尿酸结晶。这种情况在原发性痛风中少见,多见于由于恶性肿瘤及其放化疗(即肿瘤溶解综合征)等继发原因引起。

(2)慢性尿酸盐肾病:也叫痛风性肾病,为持续高尿酸血症时尿酸钠结晶沉积在远端集合管和肾间质,特别是肾髓质和乳头区,从而激活局部肾素-血管紧张素-醛固酮系统,损伤内皮细胞,进而引起肾小球高压力、慢性炎症反应、间质纤维化等病理改变,导致慢性尿酸盐肾病。临床表现为由于尿浓缩功能下降导致夜尿增多,晚期因肾小球滤过功能下降出现肾功能不全的表现,如高血压、水肿、贫血等。

(3)尿酸性尿路结石:尿中尿酸浓度过饱和时在泌尿系统沉积并形成结石,有痛风病史的高尿酸血症患者中肾结石发生率约为20%~25%,可出现在痛风关节炎之前。结石造成尿路梗阻时可引起肾绞痛、血尿和排尿困难,严重者继发泌尿系感染、肾盂扩张积水等。

2.代谢综合征

痛风患者往往伴有体内代谢异常,易并发肥胖症、高血压、高脂血症、2型糖尿病等代谢综合征的表现。

3.心血管疾病

痛风患者存在高尿酸血症,其是心血管疾病的独立危险因素,同时与许多传统的心血管危险因素相互作用参与心血管疾病的发生、发展及转归。研究显示,血尿酸水平每升高60 μmol/L,女性心血管病病死率和缺血性心脏病病死率增加26%和30%,男性增加9%和17%。高尿酸血症是女性全因死亡和冠心病死亡的独立危险因素,高尿酸血症对男性和女性冠心病的发生及预后影响不同,女性更大,可能与雌激素水平有关。

4.神经系统疾病

血尿酸水平和神经系统疾病关系复杂,高尿酸血症促进了缺血性卒中的发生,并与预后不良相关;但生理浓度的血尿酸水平对神经系统同时有一定的保护作用,血尿酸水平过低则有可能增加神经退行性疾病发生的风险。

辅助检查

(一)常规化验

包括血尿常规、肝肾功能、血糖、血脂、红细胞沉降率、C反应蛋白和泌尿系超声检查等。

(二)血尿酸测定

正常嘌呤饮食状态下,非同日两次空腹检测,血尿酸>420 μmol/L(7 mg/dl)时,诊断高尿酸血症。由于血尿酸受多种因素影响会有波动,应多次测定。

(三)尿尿酸测定

测定前需严格低嘌呤饮食5 d后才能进行,24 h尿尿酸排泄量>600 mg为尿酸生成过多型;<600 mg为尿尿酸排泄减少型;但不能除外两种情况同时存在。在正常饮食情况下,24 h尿尿酸排泄量以800 mg进行区分。此项检查目前不作为常规检查。

(四)HLA-B*5801基因检测

与使用别嘌醇产生严重不良反应,如Steven-Johnson或中毒性表皮坏死松解症等重症药疹密切相关。我国大陆人群中HLA-B*5801基因阳性率为11.51%,以华南地区最高,可达20.19%。在有条件的地区应用别嘌醇前应进行基因检测,以减少严重药物不良反应的发生。

(五)影像学

1.关节X线片:可见由于MSU晶体沉积造成的关节软骨下骨质破坏,表现为偏心性圆形或卵圆形囊性变,甚至呈虫噬样、穿凿样缺损,骨缺损边缘可呈"悬挂边缘征"。晚期可出现关节间隙明显变窄甚至消失,形成纤维性强直,也可出现关节半脱位或脱位,甚至病理性骨折。

2.超声:最重要的四种超声征象是痛风石、聚集物(关节积液内聚集的点状高回声,后方不伴声影,又称为暴风雪征)、软骨表面的双轨征(double contour,DC)和骨侵蚀,其中双轨征是尿酸沉积在关节内特异性很高的表现,其诊断痛风性关节炎的敏感性为78%,特异性为97%。

3.双能CT(DECT):能特异性识别尿酸盐结晶,诊断痛风的敏感性为84%(81%~87%),特异性为93%(93%~96%)。对早期或无痛风石的患者双能CT的敏感性要低一些,同时也有假阳性的情况。

(六)关节腔穿刺/痛风石抽吸物MSU


结晶检查

偏振光显微镜下表现为2~20 μm强的负性双折光的针状或杆状的MSU晶体。但即使是痛风发作期该检查也有阴性。

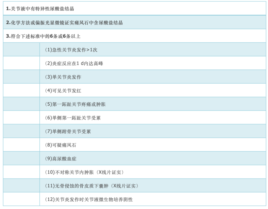
痛风分类标准

痛风诊断广泛认可的是美国风湿病学会1977年痛风分类标准及2015年美国风湿病学会和欧洲抗风湿病联盟共同制定的痛风分类标准(表1、表2)。2018年欧洲抗风湿病联盟推荐三步诊断痛风:

1)第一步,寻找关节滑液或痛风石抽吸物中的MSU晶体。

2)如果第一步不可行,第二步通过临床诊断[建立在存在高尿酸血症和痛风相关临床特征的基础上,满足下列特征时考虑临床诊断(高度怀疑但非特异性表现):足部(特别是第一跖趾关节)或踝关节单关节受累,之前类似的急性关节炎发作史,快速开始的剧烈疼痛和肿胀(24 h内达峰),皮肤发红,男性并存在相关的心血管疾病和高尿酸血症]。

3)第三步,当痛风的临床诊断不确定且不能证实晶体时,建议寻找MSU晶体沉积的影像学证据,特别是超声或双能CT。

表1 1977年美国风湿病学会痛风分类标准

注:满足上述1、2或3中任何一个条件即可诊断痛风表2 2015年美国风湿病学会和欧洲抗风湿病联盟痛风分类标准 

注:a症状发作是指包括外周关节(或滑囊)的肿胀,疼痛和/或压痛在内的有症状的时期;b双轨征:透明软骨表面的不规则回声增强,且与超声探头角度无关(注意事项:假阳性的双轨征可能出现在软骨表面,但改变超声探头角度时该征象会消失);c在关节或关节周围的位置存在颜色标记的尿酸盐。使用双能CT扫描获取影像,在80 kV和140 kV扫描能量下获取数据,使用痛风特异性软件应用双物质分解算法分析颜色标记的尿酸盐。阳性结果定义为在关节或关节周围的位置存在颜色标记的尿酸盐。需排除甲床、亚毫米波、皮肤、运动、射束硬化和血管伪影造成的假阳性;d侵蚀定义为骨皮质的破坏伴边界硬化和边缘悬挂突出,不包括远端指间关节侵蚀性改变和鸥翼样表现

美国风湿病学会1977年痛风分类标准和2015年美国风湿病学会和欧洲抗风湿病联盟共同制定的痛风分类标准,均将关节穿刺液镜检发现MSU作为诊断金标准。基于此,对疑诊痛风的炎性关节炎患者,均推荐在关节液或可疑痛风石抽吸物中寻找MSU结晶。需要强调的是,虽然高尿酸血症是痛风的基础,但并非高尿酸血症的患者均会出现痛风,无关节炎症状的单纯高尿酸血症并不能诊断痛风。此外,痛风发作期间血尿酸有可能会正常,不能以此除外痛风的诊断。

治疗方案及原则

(一)非药物治疗

痛风非药物治疗的总体原则是生活方式的管理,首先是饮食控制、减少饮酒、运动、肥胖者减轻体重等;其次是控制痛风相关伴发病及危险因素,如高脂血症、高血压、高血糖、肥胖和吸烟。饮食方面需限制高嘌呤的动物性食品,如动物内脏、贝壳和沙丁鱼等,减少中等嘌呤食品的摄入。除了酒类,含有高果糖浆(high-fructose corn syrup, HFCS)的饮料也会导致血尿酸水平升高,应限制饮用。需强调的是,饮食控制不能代替降尿酸药物治疗。

(二)药物治疗

1.降尿酸治疗的指征

目前国内一般推荐:痛风性关节炎发作≥2次;或痛风性关节炎发作1次且同时合并以下任何一项:年龄<40岁、血尿酸>480 μmol/L、有痛风石、尿酸性肾石症或肾功能损害[估算肾小球滤过率(eGFR)<90 ml/min]、高血压、糖耐量异常或糖尿病、血脂紊乱、肥胖、冠心病、卒中、心功能不全,则立即开始药物降尿酸治疗。

2019年美国风湿病学会会议上公布的痛风临床实践指南(草案)中,对药物降尿酸治疗的指征按照不同推荐强度给出了建议:

(1)强烈建议药物治疗:痛风出现的影像破坏,频繁发作(≥2次/年),存在痛风石时;

(2)建议药物治疗:既往曾发作1次以上,但属于非频繁发作(<2次/年)者;第一次发作但符合以下条件者:慢性肾脏病3期以上,血尿酸≥540 μmol/L(9 mg/dl)或存在泌尿系结石;

(3)一般不建议药物治疗:不符合上述条件的第一次发作者;即使影像学(包括彩色超声或双能CT)提示存在MSU结晶沉积的无症状高尿酸血症者。

2.降尿酸治疗的时机

因血尿酸波动可导致痛风急性发作,大多数痛风指南均不建议在痛风急性发作期开始时使用降尿酸药物,须在抗炎、镇痛治疗2周后再酌情使用。也有一些国外痛风指南提出,在足量抗炎、镇痛药应用下,允许在痛风急性期进行降尿酸治疗,但该建议的依据来自小样本的随机对照研究,推荐级别弱,尚未被国内外学者普遍接受。如果在稳定的降尿酸治疗过程中出现痛风急性发作,则无须停用降尿酸药物,可同时进行抗炎、镇痛治疗。

3.降尿酸治疗的目标和疗程

痛风患者降尿酸治疗目标为血尿酸<360 μmol/L,并长期维持;若患者已出现痛风石、慢性痛风性关节炎或痛风性关节炎频繁发作,降尿酸治疗目标为血尿酸<300 μmol/L,直至痛风石完全溶解且关节炎频繁发作症状改善,可将治疗目标改为血尿酸<360 μmol/L,并长期维持。

因人体中正常范围的尿酸有其重要的生理功能,血尿酸过低可能增加阿尔茨海默病、帕金森病等神经退行性疾病的风险。因此建议,降尿酸治疗时血尿酸不低于180 μmol/L。

4.降尿酸治疗

降尿酸药物的选择需个体化。目前国内常用的降尿酸药物包括抑制尿酸合成(别嘌醇和非布司他)和促进尿酸排泄(苯溴马隆)两类。别嘌醇和非布司他均是通过抑制黄嘌呤氧化酶活性,减少尿酸合成,从而降低血尿酸水平;而苯溴马隆则通过抑制肾小管尿酸转运蛋白-1,抑制肾小管尿酸重吸收而促进尿酸排泄,降低血尿酸水平。

(1)别嘌醇:作为一线治疗选择。成人初始剂量50~100 mg/d,每4周左右监测血尿酸水平1次,未达标患者每次可递增50~100 mg,最大剂量600 mg/d,分3次服用。肾功能不全患者需谨慎,起始剂量每日不超过1.5 mg/eGFR,缓慢增加剂量,严密监测皮肤改变及肾功能。eGFR 15~45 ml/min者推荐剂量为50~100 mg/d;eGFR<15 ml/min者禁用。由于HLA-B*5801基因阳性是应用别嘌醇发生不良反应的危险因素,建议如条件允许治疗前进行HLA-B*5801基因检测。

(2)非布司他:初始剂量20~40 mg/d,每4周左右评估血尿酸,不达标者可逐渐递增加量,最大剂量80 mg/d。轻中度肾功能不全(eGFR≥30 ml/min)者无须调整剂量,重度肾功能不全(eGFR<30 ml/min)者慎用。基于非布司他和别嘌醇用于合并心血管疾病的痛风患者的心血管安全性(CARES)研究,非布司他可能造成合并心血管疾病的痛风患者的死亡风险增加,虽然目前尚无定论,但对有心血管疾病病史或新发心血管疾病者,需谨慎使用并随访监测,警惕心血管血栓事件的发生。

(3)苯溴马隆:成人起始剂量25~50 mg/d,每4周左右监测血尿酸水平,若不达标,则缓慢递增剂量至75 mg/d~100 mg/d。可用于轻中度肾功能异常或肾移植患者,eGFR 20~60 ml/min者推荐剂量不超过50 mg/d;eGFR<20 ml/min或尿酸性肾石症患者禁用。使用促尿酸排泄药物期间,应多饮水以增加尿量,以免尿酸盐浓度过高在尿液中生成尿酸结晶。

(4)其他降尿酸药物:对难治性痛风,其他药物疗效不佳或存在禁忌证,血液系统恶性肿瘤或放化疗所致的急性血尿酸显著升高,可考虑使用尿酸酶,包括拉布立酶(rasburicase)和普瑞凯希(pegloticase),目前国内均未上市,不建议将其作为一线用药。

新型降尿酸药物RDEA594(lesinurad),通过抑制肾小管尿酸转运蛋白-1和有机酸转运子发挥作用,用于单一足量使用黄嘌呤氧化酶抑制剂仍不能达标的痛风患者,可与黄嘌呤氧化酶抑制剂联合使用。目前该药尚未在国内上市。

5.急性期治疗

急性期治疗原则是快速控制关节炎的症状和疼痛。急性期应卧床休息,抬高患肢,最好在发作24 h内开始应用控制急性炎症的药物。一线治疗药物有秋水仙碱和非甾体抗炎药,当存在治疗禁忌或治疗效果不佳时,也可考虑短期应用糖皮质激素抗炎治疗。若单药治疗效果不佳,可选择上述药物联合治疗。

对上述药物不耐受或有禁忌时,国外也有应用白细胞介素-1(IL-1)受体拮抗剂作为二线痛风急性发作期的治疗。目前无证据支持弱阿片类、阿片类止痛药物对痛风急性发作有效。

(1)秋水仙碱:建议应用低剂量秋水仙碱,首剂1 mg,此后0.5 mg、2次/d。最宜在痛风急性发作12 h内开始用药,超过36 h疗效明显下降。eGFR 30~60 ml/min时,秋水仙碱最大剂量0.5 mg/d;eGFR 15~30 ml/min时,秋水仙碱最大剂量0.5 mg/2d;eGFR<15 ml/min或透析患者禁用。该药可能造成胃肠道不良反应,如腹泻、腹痛、恶心、呕吐,同时可能出现肝、肾损害及骨髓抑制,应定期监测肝肾功能及血常规。使用强效P-糖蛋白和/或CYP3A4抑制剂(如环孢素或克拉霉素)的患者禁用秋水仙碱。

(2)非甾体抗炎药:痛风急性发作应尽早应用足量非甾体抗炎药的速效剂型,主要包括非特异性环氧化酶(COX)抑制剂和特异性COX-2抑制剂。非特异性COX抑制剂需注意消化道溃疡、出血、穿孔等胃肠道风险;特异性COX-2抑制剂的胃肠道风险较非特异性COX抑制剂降低50%左右,但活动性消化道出血、穿孔仍是用药禁忌。此外,非甾体抗炎药也可出现肾损害,注意监测肾功能;肾功能异常的患者应充分水化,并监测肾功能,eGFR<30 ml/min且未行透析的患者不宜使用。特异性COX-2抑制剂还可能增加心血管事件发生的风险,高风险人群应用须谨慎。常用非甾体抗炎药见表3。

表3 常用非甾体抗炎药的用法与用量

注:COX为环氧化酶

(3)糖皮质激素:主要用于急性痛风发作伴有全身症状,或秋水仙碱和非甾体抗炎药无效或使用禁忌,或肾功能不全的患者。一般推荐泼尼松0.5 mg·kg-1·d-1连续用药5~10 d停药,或用药2~5 d后逐渐减量,总疗程7~10 d,不宜长期使用。若痛风急性发作累及大关节时,或口服治疗效果差,可给予关节腔内或肌肉注射糖皮质激素,如复方倍他米松和曲安奈德,但需排除关节感染,并避免短期内反复注射。应用糖皮质激素注意高血压、高血糖、高血脂、水钠潴留、感染、胃肠道风险、骨质疏松等不良反应。

6.药物降尿酸治疗期间预防痛风急性发作

降尿酸治疗期间易导致反复出现急性发作症状,可给予预防治疗。在初始降尿酸治疗的3~6个月,口服小剂量秋水仙碱0.5 mg,1~2次/d。当秋水仙碱无效或存在用药禁忌时,考虑低剂量非甾体抗炎药作为预防性治疗。上述两药使用存在禁忌或疗效不佳时,也可应用小剂量泼尼松(5~10 mg/d)预防发作,但应注意糖皮质激素长期应用的副作用。

(五)预后

本病预后相对良好,如果及早诊断并进行规范治疗,大多数患者可正常工作生活。慢性期病变有一定的可逆性,长期规范达标治疗可使痛风石缩小或消失,关节症状和功能改善,相关肾病也可减轻。伴发高血压、糖尿病、其他肾病及心血管疾病者预后欠佳。

友情链接: