首页/脊柱/颈椎椎弓根螺钉的徒手置入技巧,建议收藏!/
颈椎椎弓根螺钉的徒手置入技巧,建议收藏!
2022-11-07 11:41:381146浏览
颈椎椎弓根螺钉(cervical pedicle screw, CPS)的准确置钉在技术上是有难度的,因为不同患者、不同颈椎节段之间的椎弓根的大小、尺寸和角度差异很大,且缺乏解剖标志。

颈椎椎弓根螺钉(cervical pedicle screw, CPS)的准确置钉在技术上是有难度的,因为不同患者、不同颈椎节段之间的椎弓根的大小、尺寸和角度差异很大,且缺乏解剖标志。既往颈椎椎弓根钉的安放是根据椎板及侧块表面定位决定的,由于增生、解剖变异等导致这种方法不够稳定,且需要配合较多次透视完成

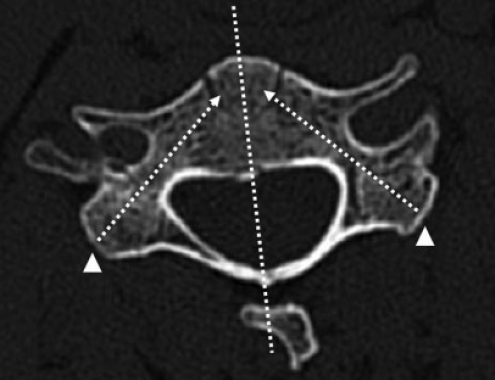
传统方法介绍的颈椎椎弓根螺钉进钉方法:1)颈椎进钉点C3~C6:侧块背面中上1/4水平线与中外1/4垂直线的交点;C7:侧块垂直中线与中上1/4水平交点偏上方。

2)颈椎进钉角度C3~C6:内倾40~45°,水平面与上下终板平行;C7:内倾30~40°,水平面与上下终板平行。

目前,一些大型医院已开展导航技术以提高置钉准确性及降低难度,但导航设备价格昂贵并非每家医院都能配备。且导航注册过程需额外的步骤及时间,另外结果可能存在偏差,这种偏差对颈椎椎弓根钉来说可能会带来严重后果。近期,韩国神经外科学者发表在Global Spine Journal的文章,回顾性研究分析了神经外科新手使用关节旁椎板开窗探查椎弓根术放置CPS的经验[1]。

技术方法

(1)术前CT规划置钉路线。

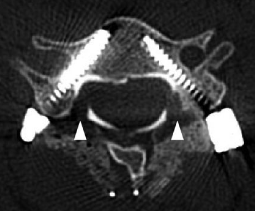
(2)俯卧位,常规后路显露,骨膜下剥离软组织至侧块关节外缘。于侧块关节内缘与椎板交接开窗,探查椎弓根内壁。(以C5右侧CPS螺钉置入为例,右侧为头端)

(3)经开窗根据神经钩探查的椎弓根内壁位置,在直视下置入CPS。

(4)术中全程无透视完成置钉,术后复查CT观察CPS螺钉位置。本例与术前规划一致,白色三角形箭头所示两侧探查椎弓根于椎板开窗位置。

研究结果及结论

经术后CT证实,根据关节旁椎板开窗椎弓根探查徒手置钉方法,术中CPS置钉准确率约92.3%,没有与 CPS置钉相关的神经血管损伤并发症。

友情链接: